Machine ID: 

1522


MFG:

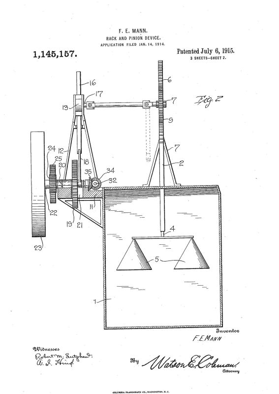
  Mann, Fred E.

Brand Name:

 Mann, F. E.

Place of Mfg:

 Eaton, Colorado

Model:

 Patent Demo

Date of Mfg:

 May 2018

Description:

Patent Demo,

Special Note:

Patent issued to Fred E. Mann of Gahanna, OH July 6, 1915. Pat. No. 1,145,157. This machine has 15 gears including an unusual arrangement of tandem rack and pinon gears.



Image: